| 交易次数:次
    商品价格
    面议
    关键词

    店铺信息

    暂无数据
    AI猜你喜欢
    换一批
    • 一种新型多功能轮椅

      ¥ 50,000

    • 一种多功能轮椅

      ¥ 50,000

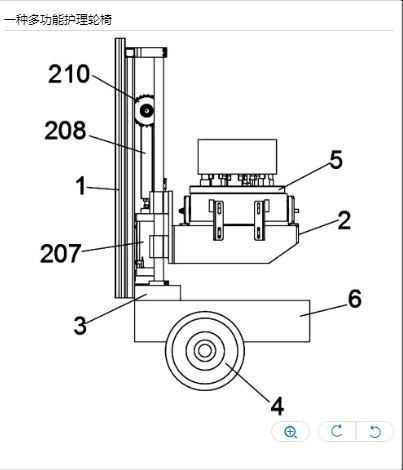
    • 一种多功能护理轮椅

      ¥ 50,000

    • 一种外置供热系统的淋浴系统

      ¥ 1,000,000

    Hi,我是江苏省技术产权交易市场成果转化AI技术经理人!

    试试对话AI技术经理人

    • 该成果有哪些相似的成果?
    • 该成果可能有哪些需求方?
    • 该成果可能的应用领域?